
一天收 15 张罚单,SOHO 物业被罚 1.15 亿!SOHO 中国去年净亏超 1 亿,7 折出售京沪优质房源

继宣布 7 折出售核心城市优质物业后,SOHO 中国董事长潘石屹又收到巨额罚单。
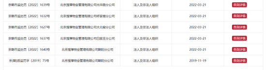
证券时报记者从北京市市场监管局网站了解到,3 月 21 日,SOHO 中国旗下 15 家物业管理公司因加收电费等违法行为被处罚款 1.15 亿元。
SOHO 中国 3 月 24 日发布的年报显示,2021 年度公司净亏损 1.31 亿元,将继续通过出售商业物业等方式减轻资金压力。

SOHO 物业一天被罚 1.15 亿
证券时报记者从北京市市场监管局网站了解到,3 月 21 日,北京搜厚物业管理有限公司(简称 SOHO 物业)朝阳门第二分公司、东大桥分公司、海淀黄庄分公司、前门分公司、三里屯分公司、望京分公司等 15 家分公司,被北京市多区市场监督管理局处罚警告并罚款。



据了解,15 家 SOHO 物业分公司被罚原因均为在电力公司同期平均电价的基础上向终端用户加收电费,其中还有 14 家公司存在以电力改造服务费的名义向终端用户收取增容费用行为,违反了《中华人民共和国电力法》相关规定,这 15 家分公司合计被罚 1.15 亿余元。
这 15 家 SOHO 物业所在项目包括北京银河 SOHO、SOHO 尚都、丹棱 SOHO、前门 SOHO、中关村 SOHO、丽泽 SOHO、SOHO 北京公馆、三里屯 SOHO、望京 SOHO、朝阳门 SOHO、光华路 SOHO、朝外 SOHO、建外 SOHO、SOHO 嘉盛中心等项目。

SOHO 中国去年净亏损超 1 亿
3 月 24 日,SOHO 中国发布的 2021 年度业绩报告显示,2021 年,公司实现租金收入约 17.42 亿元,同比增长 13%,其中没有物业销售收入;毛利约为 14 亿元,与去年大致持平;租赁业务毛利率约为 80%,同比增长 4 个百分点;净亏损 1.2 亿元,2020 年同期则为盈利 5.37 亿元。截至 2021 年 12 月 31 日,集团投资物业平均出租率约为 85%;净资产负债率约为 44%,平均借贷成本约为 4.7%。
值得注意的是,截至 2021 年 12 月 31 日,SOHO 中国归属于母公司股东净亏损约为 1.31 亿元;流动负债超出流动资产约为 23.39 亿元,而银行存款余额为 8485.8 万元、结构性存款余额为 13.78 亿元以及现金及现金等价物余额为 7.35 亿元。
SOHO 中国称,亏损的主要原因是本年度确认集团附属公司发生的一次性税费开支约为 4.39 亿元。
据了解,SOHO 中国 2021 年 12 月 17 日公告,公司之附属公司北京建华置地有限公司收到北京市税务局稽查局对其做出的《税务处理决定书》和《税务行政处罚决定书》。北京税务局稽查局在《决定书》中认定建华置地少缴企业所得税和土地增值税 1.98 亿元。建华置地应在收到《决定书》后支付上述税款、滞纳金及罚款共计人民币 7.09 亿元。
SOHO 中国在年报中表示,已采取下列措施及制定计划以减轻资金压力及改善财务状况:
1、公司正在积极与相关主要贷款人沟通取得新增融资和再融资,且公司可使用未抵押物业作为新增借款的抵押品。公司将持续管控和满足现有借款合同的条款。
2、公司将继续采取措施出售部分商业物业。
3、公司将继续采取积极措施控制行政成本及节约资本开支,以提升经营现金流。
潘石屹表示,持续小规模爆发的新冠疫情、教育行业的「双减」政策等都给办公和商业楼宇租赁市场带来了相当的负面影响。2022 年,北京上海两地的写字楼市场将迎来庞大的市场供给,因此租赁形势依旧充满挑战。

7 折出售京沪优质房源为还债
3 月 10 日,证券时报记者从 SOHO 中国了解到,SOHO 中国董事长潘石屹宣布,将以 7 折价格销售 3.2 万平方米京沪两地的优质物业。
据了解,这 3.2 万平方米的优质房源,覆盖银河 SOHO、三里屯 SOHO、SOHO 东海广场、SOHO 中山广场等 9 个项目,全部坐落在北京上海的城市核心地段,涵盖办公、商业及公寓各类业态,其中不乏包含租约及市场稀缺的整层房源,租金回报稳定,投资性价比极高。
对于写字楼市场的意向投资者来说,7 折出售不失为一个捡漏的好机会。同时,SOHO 中国还将佣金奖金比例提高到交易额的 4%,远高出行业平均水平。目前,所有待售房源已经全部在「SOHO 中国公开租售平台」小程序上架。
证券时报记者查阅「SOHO 中国公开租售平台」了解到,7 折出售的 9 个项目中,北京有 7 个,分别是银河 SOHO、中关村 SOHO、朝外 SOHO、SOHO 北京公馆、朝阳门 SOHO、三里屯 SOHO、建外 SOHO;上海有 2 个,分别是 SOHO 东海广场和 SOHO 中山广场。
其中,银河 SOHO 有 15 套可售办公房源,最大的一套是一个整层,面积 2800 多平方米,售价 4.8 万元/平方米起;朝阳门 SOHO 有 8 套可售商业房源,最大的一套是 1700 平方米,售价 2.5 万元/平方米起;建外 SOHO 有 1 套房源是会所,面积达到 3000 平方米,售价 5 万元/平方米起。另外,SOHO 中山广场有 13 套可售房源,有 2 套面积超过 2100 平方米,一套办公房源售价 4.3 万元/平方米起,一套商业房源售价 2.5 万元/平方米起,另外还有一套商业 1600 平方米,售价 2.6 万元/平方米起。SOHO 东海广场的 4 套房源均上千平方米,其中整层办公售价每平方米 6 万元左右起。
除上述几套面积较大房源外,其他房源面积在 100 平方米到 500 平方米不等。
对于 7 折出售优质房源的原因,SOHO 中国表示,是为了优化资产结构、缓解资金压力。潘石屹明确表示,此次销售房源的收入将全部用于降负债,不会用做股票分红。
接受证券时报记者采访的业内人士认为,SOHO 中国通过七折出售核心物业降负债,表明当前房地产市场环境下,民营房企生存环境更加艰难,降负债对企业健康发展有积极的作用。
据媒体报道,自从 2014 年以来,SOHO 中国就已经开始出售在中国的资产,同时也并未在境内购入过新资产。在 2014 年至 2021 年的八年间,SOHO 中国累计出售资产套现超过 350 亿元。
本文版权归属原作者/机构所有。
当前内容仅代表作者观点,与本平台立场无关。内容仅供投资者参考,亦不构成任何投资建议。如对本平台提供的内容服务有任何疑问或建议,请联系我们。



